The Origin and History of the Ball Lock Pin
Origin: Boeing’s Charles Brewsters 1945 Patent
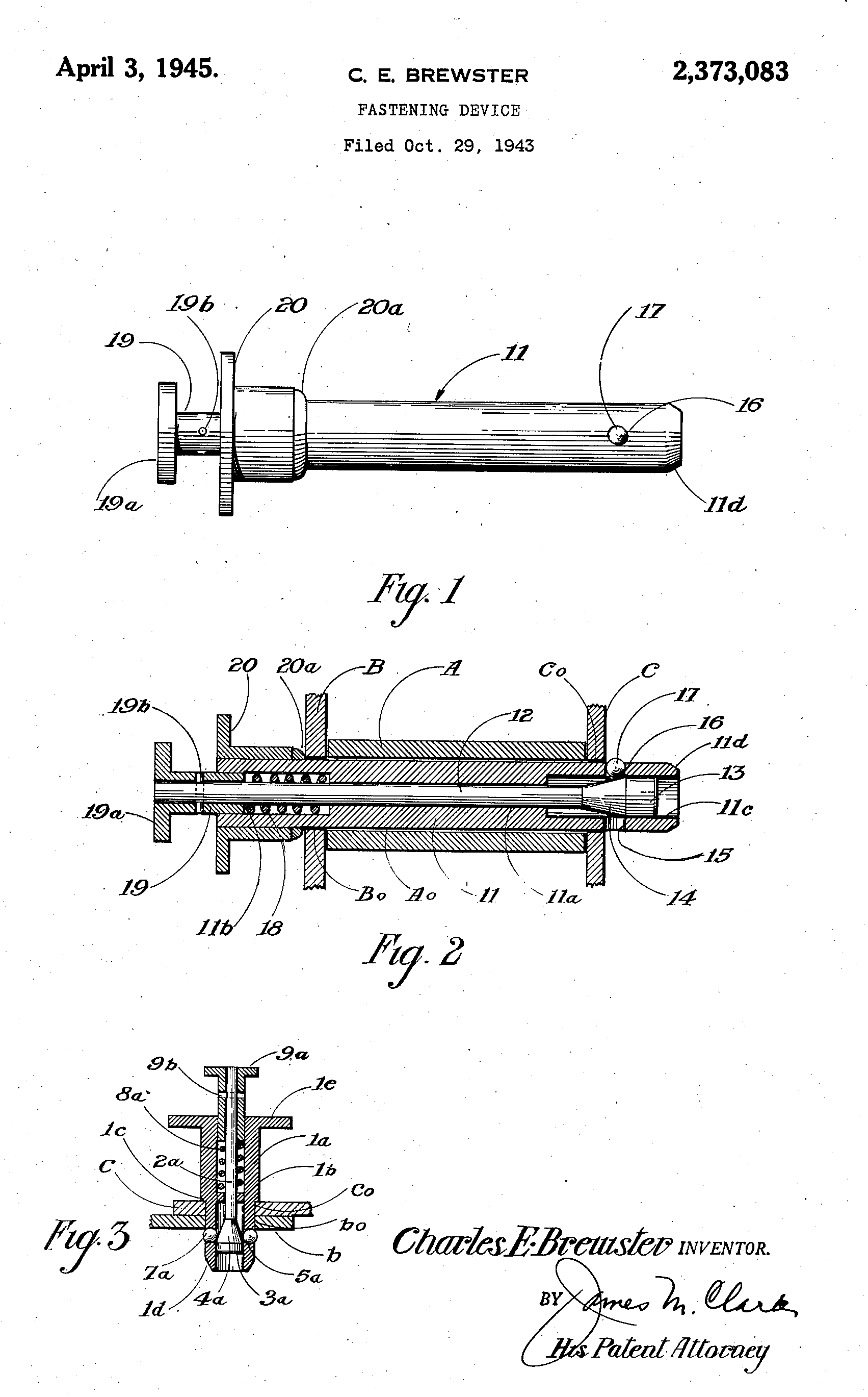
The ball lock pin was invented by Charles E. Brewster of Boeing and patented on April 3, 1945 (US Patent 2,373,083A, filed October 29, 1943). The patent cited no prior art, indicating Brewster had created an entirely new fastening mechanism. His design introduced the fundamental architecture that defines ball lock pins: a button-actuated plunger that retracts spring-loaded balls into a hollow shank, allowing the pin to be inserted into or removed from a hole. When the button is released, the balls extend and lock behind the mating surface.
Brewster's invention solved a fundamental problem in industrial fixturing. Before ball lock pins, securing fixture components together required threaded fasteners, tapered pins, or dowel pins with threaded extraction. All of these methods were slow. A bolt or screw required a wrench and multiple turns to install and remove. Tapered pins required hammering in and driving out. Dowel pins often required threaded holes and extractors. None were designed for repeated, rapid assembly and disassembly. Brewster put it thusly,
“In the manufacture and operation of aircraft numerous assemblies are required to be made in which the work is accessible conveniently from a single side only and it is to such applications that my quickly releasable locking device is more particularly adapted.”
_1.png)
Image: Brewster 1945 patent drawing showing original plunger mechanism
The ball lock pin changed this. A single push of the button allowed insertion. Releasing the button locked the joint. Another push released it. No tools, no threads, no hammering. For applications requiring frequent setup changes or component swaps, the time savings were transformative.
Refinement of the Actuation Mechanism (1953-1962)
Following Brewster's original design, a series of patents refined the actuation mechanism to improve ease of use, reduce the force required for operation, and allow the pin to be used in tighttly-fitting or misaligned holes without damaging the locking mechanism.
Meepos and Rowe (1957, US 2,779,228)
Simplified the plunger design and improved the spring mechanism, reducing the number of parts and improving reliability.
.png)
Image: Meepos/Rowe patent drawing
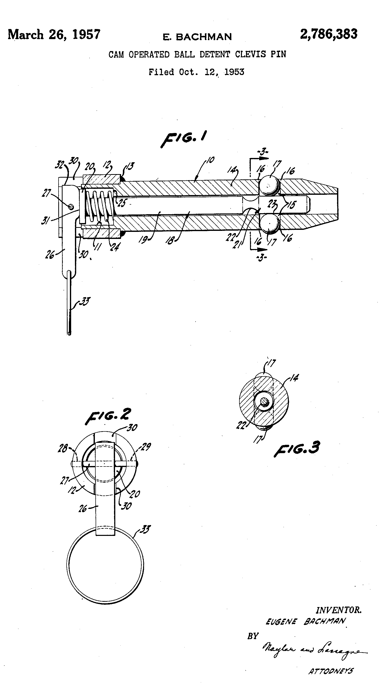
Eugene Bachman (1957, US 2,786,383)
Introduced a cam-operated lever mechanism that replaced the axial plunger with a rocking lever. The lever could be positioned in a slot in the head of the pin, allowing the pin to be driven with a hammer without striking the actuator. This was a significant advance for applications requiring force during installation.
.png)
Image: Bachman 1957 patent (lever mechanism)
Bachman's second patent (1957, US 2,816,471)
Added a bayonet lock to the lever mechanism. When the lever was moved to retract the balls and then rotated, it engaged bayonet slots that held the balls in the retracted position without continuous manual pressure. The pin could then be forcefully driven into the hole, and when the lever was rotated back, the spring would automatically eject the balls once they cleared the hole.
.png)
Image: Bachman 1957 patent (bayonet lock)
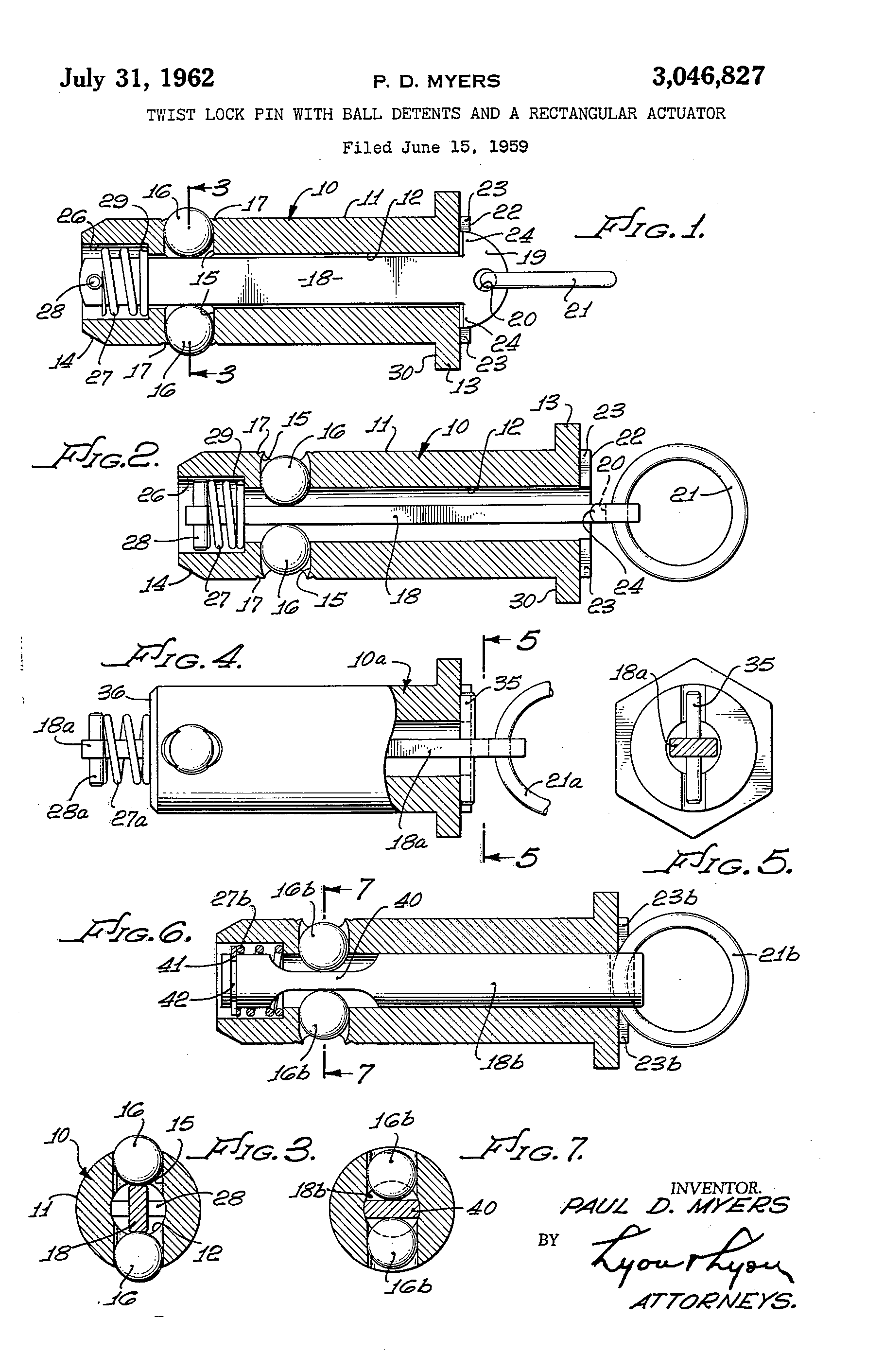
Paul D. Myers (1962, US 3,046,827)
Eliminated the plunger mechanism entirely. His design used a rectangular actuator that rotated within the cylindrical bore of the shank. A quarter-turn of the actuator moved the balls between ejecting and non-ejecting positions through direct cam action. This twist-lock design reduced the overall length of the pin and simplified the mechanism further.
.png)
Image: Myers 1962 patent drawing
Carr Lane's Innovation: The Adjustable Ball Lock Pin
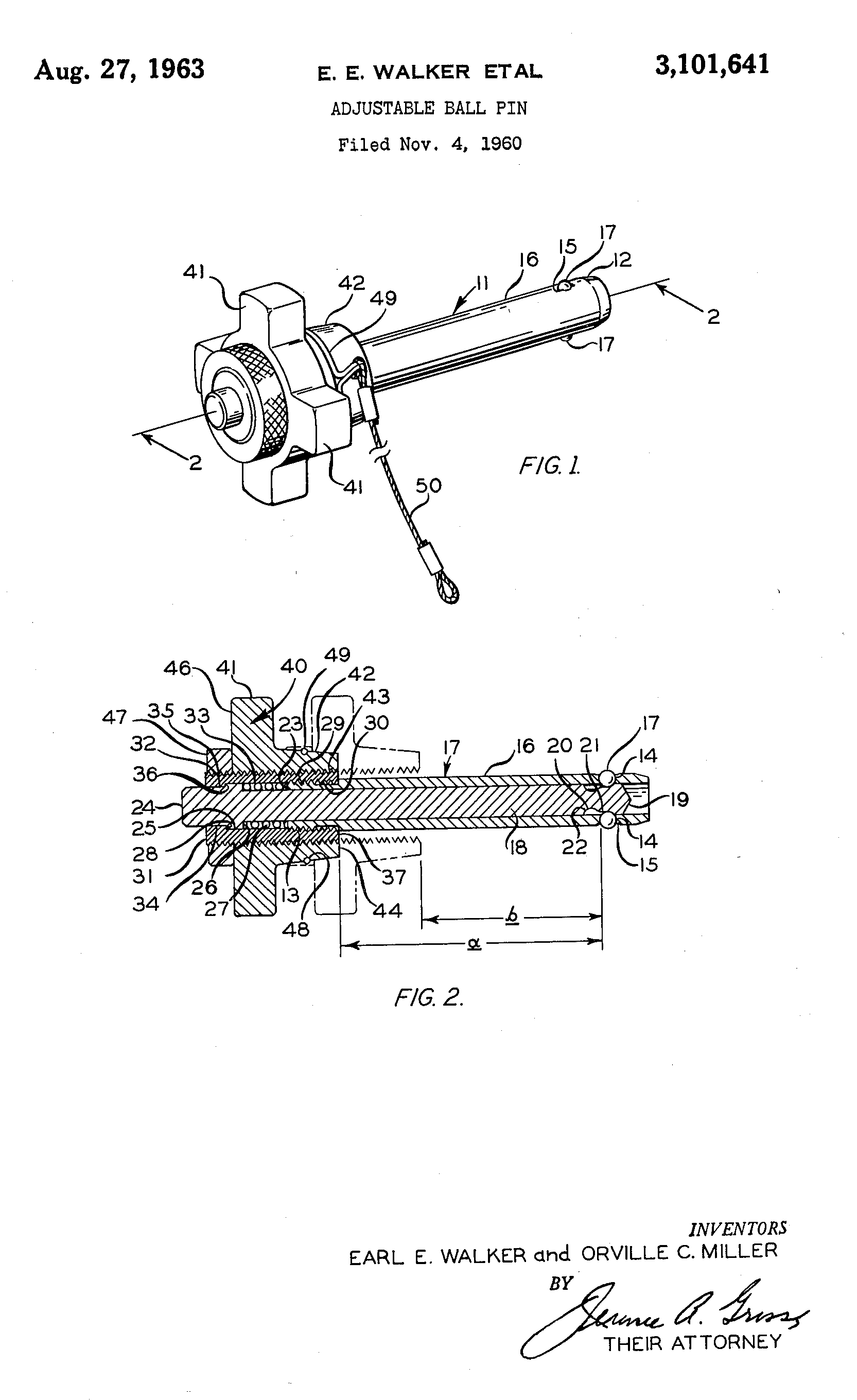
In 1960, Earl E. Walker, founder, and Orville C. Miller of Carr Lane Manufacturing Company in St. Louis, Missouri, filed a patent for an adjustable ball lock pin. The patent was granted on August 27, 1963 (US Patent 3,101,641A).
.png)
Image: Walker/Miller 1963 patent drawing
Walker and Miller's design introduced a threaded sleeve near the handle end of the pin. The handle threaded onto this sleeve, allowing the user to adjust the pin's overall length. A lock nut secured the handle in position once the correct length was set. The adjustment range was substantial, typically 0.500 to 1.000 inch depending on shank diameter, allowing a single adjustable pin to replace multiple fixed-length pins.
The invention solved many of the problems fixed-length pins created:
Reduced Inventory: An adjustable pin with a 1-inch adjustment range replaced four or more fixed-length pins. Inventory requirements dropped by 70 to 80 percent for users who adopted adjustable pins.
Accommodated Tolerance Stack-up: The user adjusted the pin to fit the actual assembled thickness, not the nominal dimension. Tolerance accumulation no longer mattered.
Eliminated Custom Lengths: If a standard adjustable pin's range covered the application, no custom pin was needed. Lead times dropped from weeks to stock delivery.
Simplified Specification: Designers could specify adjustable pins when exact grip lengths were unknown or variable, confident the pins would fit when the fixture was assembled.
The adjustable ball lock pin was not a minor improvement. It was a fundamental redesign that changed how ball lock pins were specified, stocked, and used. Carr Lane had taken a simple fastener and turned it into an adaptable tooling component.
Early Developments in Ball Lock Pin Commercialization
Ball Lock Pins in Aerospace Manufacturing (1960s-Present)
Ball lock pins found their most demanding application in aerospace manufacturing. The aerospace industry's requirements, repeatability, precision, and ease of use aligned perfectly with the ball lock pin's capabilities.
In aircraft assembly, fixtures must be reconfigured frequently to accommodate different models, production runs, and engineering changes. Threaded fasteners slow these changeovers and introduce the risk of cross-threading or stripped threads. Ball lock pins eliminated both problems. A fixture that once required an hour to reconfigure could be changed in minutes.
Ball lock pins also proved essential in test equipment and ground support equipment, where components needed to be installed, removed, and reinstalled repeatedly without wear or loss of positioning accuracy. The spring-loaded ball mechanism maintained consistent locking force through thousands of cycles.
As confidence in the product grew, ball lock pins moved from tooling into aircraft themselves. Quick-release pins were specified for seat mechanisms, overhead bin latches, access panels, and other applications requiring frequent opening and closing by maintenance personnel or flight crews. These "fly-away" applications, fasteners that remain installed on the aircraft during flight, required aerospace-grade materials (typically 17-4PH stainless steel or high-strength alloy steel), rigorous testing protocols, and full material traceability.
The development of military (MS) and aerospace (NAS) specifications for ball lock pins in the early 1960s standardized dimensions, materials, and performance requirements across manufacturers and established ball lock pins as a qualified fastening method for both tooling and flight hardware. This standardization accelerated adoption throughout the aerospace supply chain.
By the mid-1960s, ball lock pins had become standard components in aerospace manufacturing and assembly worldwide. The technology born from Boeing's wartime production challenges had matured into an indispensable element of modern aerospace manufacturing.
Today, aerospace remains the largest market for high-precision ball lock pins, with manufacturers producing millions of pins annually to military and commercial aerospace specifications. Avibank Manufacturing, founded in 1960 in North Hollywood, California, remains a producer of aerospace-grade ball lock pins and holds the Ball-Lok trademark originally registered by D.W. Price Corporation in 1956.
Carr Lane and the Space Program
During the 1960s, Carr Lane Manufacturing supplied ball lock pins to NASA and aerospace contractors for the Apollo program. Carr Lane's pins were used in tooling, fixtures, and ground support equipment for every manned space flight program beginning with Apollo. Some of those pins remain on the moon today, part of equipment left behind during the lunar missions.
When the Space Shuttle program began, Carr Lane supplied custom ball lock pins for a critical application: the pins that retained the space vehicle to the crawler transporter on the journey from the Vehicle Assembly Building to the launch pad. These pins had to support enormous loads during transport, then be quickly removed before launch. Failure was unacceptable. Carr Lane's pins performed flawlessly across the entire Shuttle program.
NASA recognized Carr Lane's contributions with an award "in support of manned space flight programs," presented to Carr Lane employees and memorialized in a photograph showing the award alongside a model of the Space Shuttle.


Image: Earl and Nasa folks
(This is the Nasa presentation. The photo being presented reads, "To the employees of Carr Lane Manufacturing with sincere appreciation for you dedicated support of America's Manned Space Program" and is signed by Judith A. Resnik and Hank Hartsfield (Henry Hartsfield Jr.) NASA Astronauts. It also dates this picture to December 1985, when Hartsfield had just returned from STS-61-A on Challenger (landed November 6, 1985), and Resnik was deep in training for STS-51-L (Challenger), scheduled for late January 1986. (There are some pother pictures of the NASA folks at the factory with Christmas decorations up.) Both were very likely to be in training together at Johnson Space Center with Hartsfield having just returned on Challenger, and Resnik preparing to depart on Challenger in January. Unfortunately, Challenger exploded during launch of STS-51-L and Resnik died on January 28th, 1986. )
Carr Lane's involvement in the space program was not limited to custom pins. The company also supplied standard and semi-custom ball lock pins to spacecraft manufacturers, payload integrators, and ground support equipment builders. The space industry's extreme performance requirements—high reliability, full traceability, performance in vacuum and temperature extremes—drove Carr Lane to develop manufacturing processes and quality systems that exceeded commercial and even aerospace standards.
This legacy continues today. Carr Lane supplies ball lock pins to every major space rocket manufacturer globally, including SpaceX, Blue Origin, United Launch Alliance, and Rocket Lab. The pins are used in tooling, payload handling fixtures, and critical launch support equipment on launch pads around the world.
From Distributor to Custom Manufacturer to Full Production
In the 1960s and 1970s, Carr Lane operated as both a distributor of standard ball lock pins and a manufacturer of custom pins. The company purchased standard fixed-length pins and resold them alongside Carr Lane's own adjustable pins and custom-length fixed pins. This hybrid model allowed Carr Lane to offer customers a complete line while focusing its manufacturing capacity on the higher-value custom and adjustable products.
Custom manufacturing became Carr Lane's competitive advantage. While others focused on high-volume production of standard aerospace fasteners to MS and NAS specifications, Carr Lane focused on solving specific customer problems. If a customer needed a pin with an unusual grip length, a special handle configuration, or a unique material specification, Carr Lane would manufacture it in small quantities. The large fastener manufacturers were not structured to handle these low-volume, high-variation orders economically.
By the 1970s, Carr Lane had built a reputation as the company to call when standard ball lock pins would not work. Aerospace tooling engineers, fixture designers, and manufacturing engineers knew Carr Lane could deliver custom solutions quickly. This customer base became Carr Lane's foundation.
Throughout the 1980s, 1990s, and 2000s, Carr Lane expanded its custom ball lock pin capabilities while continuing to distribute standard pins. The relationship was symbiotic. Vendors supplied the high-volume aerospace fastener market. Carr Lane supplied the tooling and custom application market. All companies benefited.
In 2015, Carr Lane brought all ball lock pin manufacturing in-house. The company ceased purchasing pins from external suppliers and began manufacturing its entire product line, including standard catalog items previously sourced from vendors. This transition required significant investment in equipment, tooling, and manufacturing processes, but it gave Carr Lane complete control over quality, lead times, and product development.
The Segmentation of the Ball Lock Pin Market
As ball lock pins became more widely known in the 1990s and 2000s, new manufacturers entered the market. Many of these manufacturers targeted price-sensitive customers in general industrial, agricultural, and consumer applications. These "economy" or "light-duty" ball lock pins used softer materials, looser tolerances, and minimal or no heat treatment. They were adequate for occasional use in non-critical applications and were sold at substantially lower prices than aerospace-grade pins.
The market segmented. On one side were precision-engineered ball lock pins made from high-strength alloys, fully heat-treated, ground to tight tolerances, and designed for continuous duty under high loads in harsh environments. On the other side were economy pins made from unhardened stainless steel or low-carbon steel, machined to looser tolerances, and intended for light-duty use.
Carr Lane remained firmly on the precision side of this divide. While economy pins flooded industrial distribution channels, Carr Lane focused on applications where failure had consequences: aerospace assembly, defense manufacturing, space systems, gas turbine production, and high-precision tooling.
Carr Lane's Ball Lock Pin Standards: Why Materials and Manufacturing Matter
Carr Lane ball lock pins are engineered as precision machine components, not commodity fasteners. Every design decision reflects the demands of continuous-duty, high-load, mission-critical applications.
Materials Selection: Carr Lane uses only two materials for ball lock pin shanks: 4130 chromium-molybdenum alloy steel for standard pins, and 17-4PH precipitation-hardening stainless steel for corrosion-resistant applications.
4130 chromoly is through-hardened and tempered to 36-40 HRC. This hardness range balances high strength with excellent toughness and fatigue resistance. The material can withstand repeated tensile and shear loading without brittle failure, making it ideal for pins subjected to cyclic loads or shock. 4130 is used in Ball Lock Pin shanks for the same reason it is used in aircraft landing gear and high-performance driveline components: it does not fail unexpectedly under repeated stress.
17-4PH stainless steel is precipitation-hardened to condition H900, achieving 40-45 HRC. This is the only stainless steel that can be hardened sufficiently to resist galling during repeated insertion and removal while maintaining useful corrosion resistance. Softer austenitic stainless steels such as 303, 304, and 316 are not used. These materials gall rapidly under sliding contact, causing pins to seize in bushings after only a few cycles. 17-4PH eliminates this failure mode.
Carr Lane does not use tool steels for ball lock pin shanks. Tool steels such as A-2 and D-2 can achieve higher hardness (58-62 HRC), but this extreme hardness is unnecessary and increases brittleness. Ball lock pins must absorb impact and tolerate misalignment without fracturing. 4130 and 17-4PH provide the optimal combination of hardness, toughness, and reliability.
Manufacturing Tolerances: Carr Lane manufactures ball lock pins to micron-level tolerances, not typical fastener tolerances. Shank diameters are held to ±0.0002 inch or tighter. Ball pocket geometry is held to ensure consistent locking force and release pressure. Perpendicularity between the handle and shank is controlled to prevent binding in close-tolerance bores.
These tight tolerances are required because ball lock pins function as precision locating devices, not just fasteners. In a fixture, the pin's shank often acts as a locating diameter that positions the workpiece or subplate. Any runout or diameter variation introduces positioning error. Carr Lane's tolerances eliminate this error.
Heat Treatment and Grinding: All Carr Lane ball lock pin shanks are fully heat-treated and ground to final dimensions. This is not standard practice in the industry. Many economy pins are machined to final size, then heat-treated or surface-hardened, leaving distortion from heat treatment in the finished part. Others are not heat-treated at all.
Carr Lane heat-treats first, then grinds. Distortion from heat treatment is removed during grinding. The final shank is straight, round, and hard. This process is slower and more expensive, but it is the only way to achieve both full hardness and tight tolerances simultaneously.
Service Life: Carr Lane ball lock pins are designed for extended service life under harsh conditions. Pins used outdoors remain functional after years of exposure to weather, temperature cycling, and contamination. Pins subjected to continuous shear loads or sustained clamping pressure maintain locking force over thousands of cycles. Pins used in high-vibration environments do not loosen or walk out.
This durability comes from material selection, heat treatment, and precision manufacturing working together. A hardened shank resists wear. Precise ball pocket geometry ensures consistent spring force. Ground surfaces minimize friction and galling. Every element is engineered for reliability.
Carr Lane Ball Lock Pins Today
Carr Lane Manufacturing is the largest manufacturer of precision-engineered ball lock pins in the world. The company produces hundreds of thousands of pins annually across more than 1,000 unique configurations, from standard catalog items to fully custom designs.
Carr Lane supplies ball lock pins to every segment of global aerospace and defense manufacturing:
Commercial Aviation: Every major international airline operator uses Carr Lane ball lock pins in maintenance, repair, and overhaul (MRO) operations. Pins secure tooling for engine changes, landing gear maintenance, structural repairs, and avionics installation. Ground support equipment (GSE) including tow tractors, cargo loaders, and service platforms use Carr Lane pins in quick-change fixtures and adjustable components.
Aircraft Manufacturing: The world's largest commercial and defense aircraft manufacturers, including Boeing, Airbus, Lockheed Martin, and Northrop Grumman, specify Carr Lane ball lock pins for assembly tooling, test fixtures, and production jigs. Both standard catalog pins and custom configurations are used. Some applications require fly-away pins that remain on the finished aircraft.
Space Systems: Carr Lane supplies pins to every major commercial space company, including SpaceX, Blue Origin, United Launch Alliance, and Rocket Lab. Pins are used in payload integration, vehicle assembly, and critical launch pad operations. The company's space heritage extends from the Apollo program through the Space Shuttle to current missions launching satellites, crew, and cargo to orbit and beyond.
Defense and Military: Carr Lane pins are used in the assembly and maintenance of fighter aircraft, helicopters, naval vessels, and ground vehicles. Applications include weapons system integration, avionics installation, structural assembly fixtures, and field maintenance tooling.
Beyond aerospace and defense, Carr Lane supplies ball lock pins across all major industrial sectors:
Power Generation: Gas turbine manufacturers use Carr Lane pins in assembly fixtures for turbine rotors, stator assemblies, and combustion chambers. The pins must withstand the high clamping forces and thermal cycling common in turbine manufacturing.
General Manufacturing: Automotive manufacturers, heavy equipment builders, and precision machining shops use Carr Lane pins in jigs, fixtures, and modular tooling systems. Reusable racking for parts transport and storage often incorporates ball lock pins for quick reconfiguration.
Agricultural Equipment: Tractor and implement manufacturers use pins in assembly fixtures and service tooling.
If a product is manufactured with precision tooling, Carr Lane ball lock pins are likely involved.
How Carr Lane Became the Industry Standard Ball Lock Pin
Carr Lane's position as the leading manufacturer of precision ball lock pins was not inevitable. The company entered a market dominated by Avibank, a competitor with the original Ball-Lok trademark. Carr Lane succeeded for four reasons:
Innovation: The adjustable ball lock pin solved real problems that fixed-length pins could not. Customers adopted adjustable pins because they reduced inventory, eliminated custom orders, and simplified fixturing. The innovation was not incremental. It was transformative.
Customer Focus: Carr Lane built its business on custom and semi-custom pins in small quantities. While competitors focused on high-volume standard production, Carr Lane focused on solving specific customer problems. This customer-first approach created loyalty and word-of-mouth referrals that no amount of advertising could match.
Engineering Quality: Carr Lane treated ball lock pins as precision machine components, not commodity fasteners. Material selection, heat treatment, tolerances, and manufacturing processes all reflected this philosophy. When a pin's failure could delay a spacecraft launch or ground a commercial aircraft, customers specified Carr Lane.
Vertical Integration: By bringing all manufacturing in-house in 2015, Carr Lane gained complete control over quality, lead times, and product development. The company could respond to custom requests faster, maintain tighter tolerances, and ensure consistent quality across every pin produced.
Today, Carr Lane ball lock pins are specified by engineers worldwide who understand that not all ball lock pins are equal. The lowest-cost pin is not always the best value, especially when downtime, rework, or failure carries consequences far exceeding the pin's purchase price.
From Earl Walker's 1960 invention of the adjustable design through today's global manufacturing operation, Carr Lane has remained focused on engineering excellence, customer service, and continuous improvement. The company that solved the ball lock pin inventory problem sixty years ago continues to set the standard for precision, reliability, and performance in quick-release fastening systems.