Product Catalog
Catalog Tools
Measurement
Inch
Material
Cast Iron
Products
Exclusive Products New Products Quick Ship Products
Remove All Filters

Language
Convert Units of Measure =

Angle Tooling Plates – Standard (630mm)

QUANTITY PART NO. HOLE
THREAD
HOLE
ID
HOLE
SPACING
HOLE
PATTERN
A
NOMINAL
A
ACTUAL
B C D E
(JIS)
F
(DIN)
G
(USA)
H
(JIS)
J
(DIN)
K
(USA)
L P
DIA
S T V W X WEIGHT
(lbs)
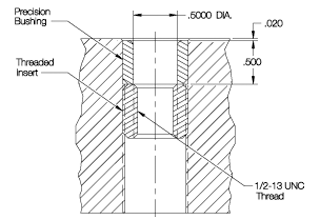
CL-MF40-0453 1/2-13 .5000 2.0000 15 x 12 630mm 24.25 27.56 29.92 2.95 125mm 100mm 5.000 M16 M16 5/8-11 or M16 3.937 25mm 12.4016 2.17 23.60 3/4-10 10.4331 665

Products Related to